我們歡迎您!! …社團法人臺灣省土木技師公會…

技師報於85年11月18日土木日創刊
新聞局出版事業登記證局版省報字第48號


中華民國一○二年二月二十三日

廣告專線 :(02)8961-3968轉142
傳真:(02)2964-1159,2963-4076
地址:新北市板橋區三民路二段37號A3
網址:http://www.twce.org.tw
E-mail:mail@twce.org.tw

NO.
846

發  行 人:施義芳
社務委員:周子劍、巫垂晃、梁詩桐、洪建興、陳清展、余 烈、涂泰成
     蔡得時、蔡震邦、吳亦閎、吳朝景、洪啟德、陳玫英、曾傳來
監  察 人:黃科銘、陳錦芳、鄭明昌、張錦峰、周功台
社務顧問:李咸亨(北區)、顏 聰(中區) 、徐德修 (南區)
社  長:周子劍

副  社 長:蔡得時、吳朝景

總  編 輯:拱祥生

副  總 編:朱煌林
營運總監:巫垂晃

總  主 筆:莊均緯
本期主筆:鄧勝軒
執行編撰:李惠華
文字記者:許素梅

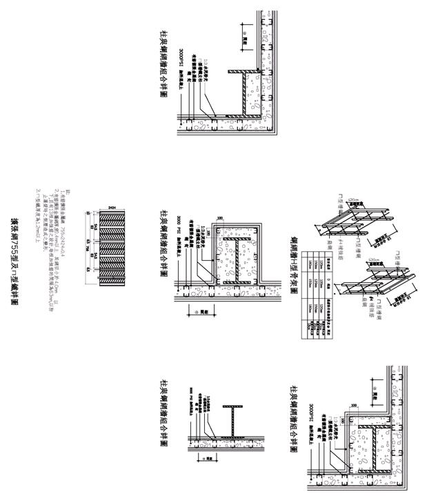
RC牆與速固牆之比較

曾傳來技師

一般建築物之外牆或內牆壁,隔戶牆大部份採用RC牆,在不需要做為承重牆或剪力牆考量時,可參考改為速固牆(如圖示),其施工程序為先組合輕型鋼、外舖鋼網、內放鋼筋,再灌注3,000PSI細料混凝土,其施工期較短,且費用較RC牆便宜,但其水密性較低,故用在外牆使用時,外側牆面需做防水處理,其單價分析如下表,故在考量降低營建成本,可考慮速固牆取代RC牆,以節省成本。

RC牆每㎡單價分析:

    單位 數量   單價   總價
1 普通模板 2 × 450 900
2 鋼筋組立及加工 18.6 × 25 465
3 3000psi混凝土 0.15 × 1,800 270
4 1:3水泥粉刷 2 × 200 400
  合  計         2,035

速固牆每㎡單價分析:

    單位 數量   單價   總價
1 速固牆組立工料 1 × 1,100 1,100
2 鋼筋組立及加工 4 × 25 100
3 3000psi混凝土 0.15 × 1,800 270
4 表面整平及外側噴防水層 1 × 250 250
  合  計         1,720

 

返回上一畫面

    Top   Back